高青县人民政府
高青县应急管理局
首页
政务公开
政府信息公开
行政执法公示
事前公开
行政执法流程图
标题:
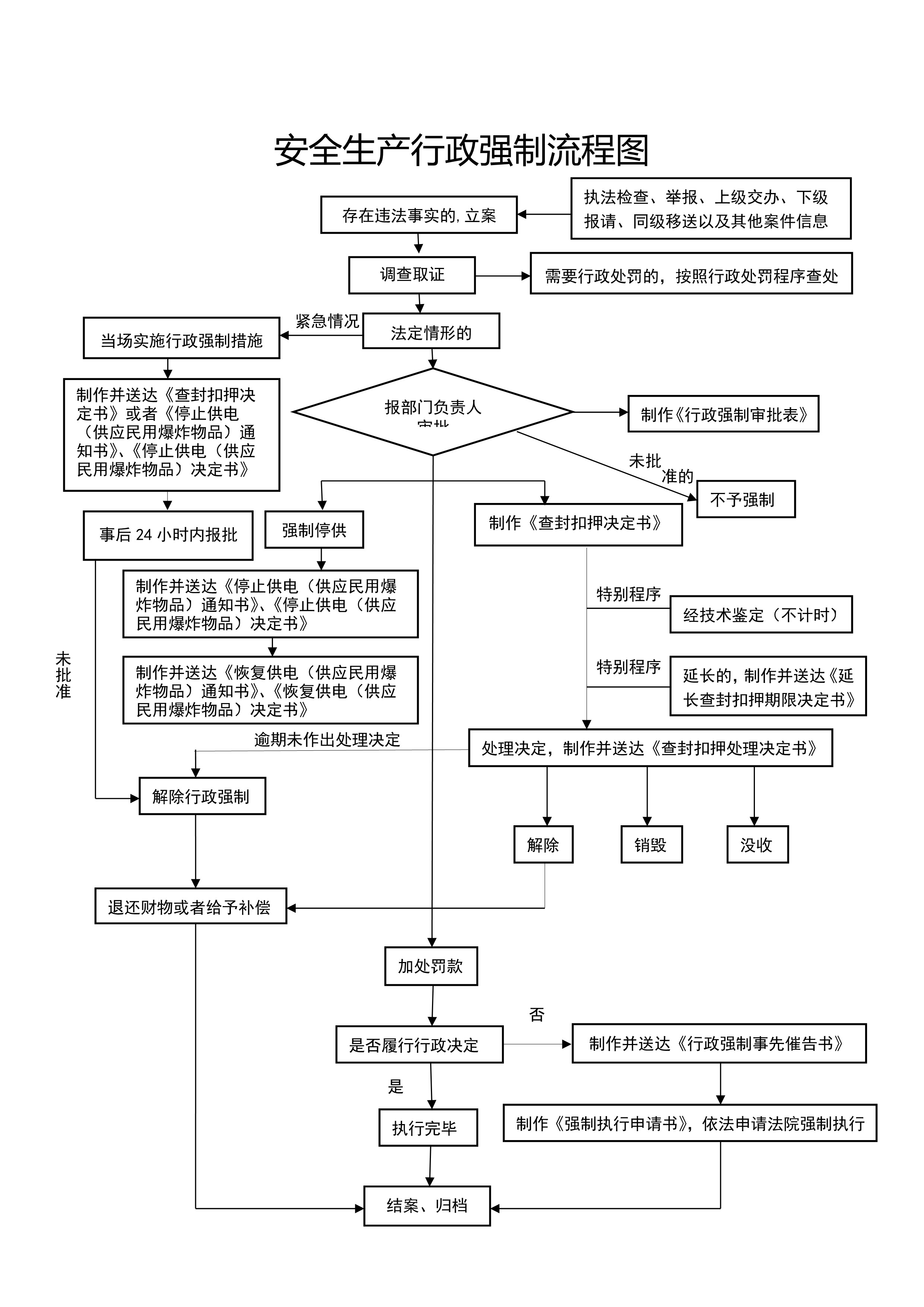
高青县应急管理局行政强制流程图
索引号:
11370322MB28613308/2026-5193066
文号:
发文日期:
2026-03-10
发布机构:
高青县应急管理局
高青县应急管理局行政强制流程图
发布日期:2026-03-10
字号:
大
中
小
|
打印
分享:
扫码使用手机浏览本页内容