高青县人民政府
| 标题: | 高青县木李卫生院双向转诊 | ||
|---|---|---|---|
| 索引号: | 11370322MB28608487/2022-5297003 | 文号: | |
| 发文日期: | 2022-11-17 | 发布机构: | 高青县卫生健康局 |
本院与高青县中医医院签署了医联体协议,在推进与完善基层首诊、双向转诊、急慢分治、上下左右联动的分级诊疗服务模式取得初步成效。
转诊医院:高青县中医医院
本院转诊至高青县中医医院
转诊服务内容:高青县中医医院可提供的所有服务项目
转诊机构:高青县中医医院相关科室
转诊流程:由本院联系高青县中医医院相关科室,确定时间及床位后进行转诊。
联系方式:0533-6715067
高青县中医医院转诊至本院
转诊服务内容:康复及需要进一步观察的患者
转诊机构:高青县木李卫生院
转诊流程:由高青县中医医院联系本院,确定患者需求后进行转诊。
联系方式:0533-6717120
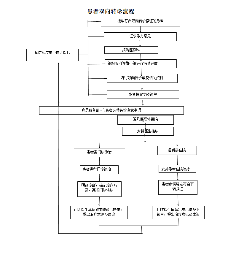
高青县木李卫生院转诊程序及分级诊疗制度
(一)分级诊疗和转诊基本程序。参保患者需住(转)院,应在辖区内遵循“乡镇卫生院(首诊医疗卫生机构)→二级定点医疗机构→三级定点医疗机构”分级诊疗和转诊的程序。
(二)转诊审批程序。参保职工和居民在首诊医疗卫生机构就诊,经医生确认无法诊治的疾病,首诊医疗卫生机构出具《淄博市职工和城乡居民医保分级诊疗审批表》(以下简称《审批表》),并经乡镇卫生院院长签字、单位盖章后转往二级医疗卫生机构。在二级医疗卫生机构无法救治的疾病,由二级医疗卫生机构出具《审批表》,经二级医疗卫生机构主管院长签字、单位盖章,经县(区、市)级职工和城乡居民医保经办机构审批出具《审批表》后转往三级医疗卫生机构(《审批表》)。
(三)特殊情况住院审批程序。离退休定居内地,省内异地居住,县、乡(社区)医疗卫生机构确认必须向上级医疗机构转诊的特殊、急、危、重症参保患者,参保的异地就读大学生,参保的外地务工农民工,参保职工和居民在出差、旅游、探亲途中突发急、危、重症患者可以先按“就近、就急”的原则进行抢救和住院治疗。患者或其家属应在72小时告知当地职工和城乡居民医保经办机构,并在7个工作日内由家属凭医生开具的急诊(或病重、病危)通知书到统筹地区职工和城乡居民医保经办机构办理备案和审批手续。
(四)省外住院转诊审批程序。对于在省内无法救治的疾病,由三级甲等定点医疗机构出具《审批表》,并经本统筹地区职工和城乡居民医保经办部门审批后出省治疗。实行省外转诊患者个人需先承担符合规定医疗费用10%。
(五)实行双向转诊制度。转入上一级医疗卫生机构的患者,对诊断明确,经治疗病情稳定,可在下一级医疗卫生机构进行治疗和康复的,应转回下一级医疗卫生机构。
双向转诊流程图
